GM запатентовала клапанную систему для двухтактных моторов: меньше утечек, чище выхлоп

© uspto.gov

GM получила в USPTO патент US 2025/0354528 A1 на клапанную систему двухтактного двигателя: точнее фазы, меньше утечек, выше ресурс и чище выхлоп для авто.

General Motors подала в USPTO заявку на патент US 2025/0354528 A1, описывающий новую клапанную систему для двухтактного двигателя; публикация датирована 20 ноября 2025 года. С подробностями об этом пишет портал speedme.ru.

Классическая двухтактная схема с окнами в цилиндре проста, но расплачивается утечками, быстрым износом и сложной продувкой. В новом варианте GM предлагает перенести управление потоками на отдельный подвижный элемент, чтобы унять хаос газообмена без усложнения всего мотора.

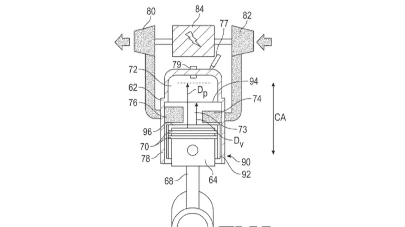
Клапанный узел расположен между цилиндром и поршнем и скользит вдоль оси, открывая и закрывая окна впуска и выпуска строго по моменту, синхронно с ходом поршня. По сути это «манжета», которая проводит кольца мимо портов, не давая им цепляться за кромки.

За счёт такого разграничения улучшается уплотнение, снижаются утечки и возрастают ресурсные возможности. Точнее становится и фазирование: моменты открытия и закрытия каналов можно задавать аккуратнее, что, по идее, добавляет эффективности и очищает выхлоп.

В описании предусмотрены два исполнения — в формате цилиндровой гильзы или отдельных впускной и выпускной секций. GM утверждает, что схема обеспечивает более экономичную и долговечную работу, а сгорание потенциально становится чище. Область применения широкая: от автомобилей и гибридов до мототехники, электроинструмента и авиации. Решение выглядит логичным: если реализация будет точной, как заявлено, эффект особенно заметен должен быть на герметичности и ресурсе.